关于规范建设项目竣工环境保护验收的通知!有以下十类情形之一的竣工环保验收不合格,附办理流程

发布时间:2017-12-20   来源:企事业环保

点击题目下方蓝字关注  企事业环保


小提示:欢长按识别以下二维码进入保智收藏了新司法解释等,可以查阅环评分类。

 危废处置去向不好找?超低排放和脱硫废水零排放太贵?VOCs治理咋弄?高浓废水咋处理?环评手续繁琐?请加微信eprens.特别急的,可以直接联系电话18268767761

各相关单位

根据新修订的《建设项目环境保护管理条例》的具体要求,进一步强化了建设单位的环境保护三同时主体责任,推进建设单位自主验收工作的有序开展,参照国家环保部《关于规范建设单位自主开展建设项目竣工环境保护验收的通知》和《建设项目竣工环境保护验收暂行办法》(国环规环评〔20174)有关规定,环境保护部门对建设项目配套建设的水、噪声或者固体废物污染防治设施依法进行验收,其余大气污染防治设施以及项目主体由建设单位自主开展验收。各级环保部门将采取双随机一公开抽查制度加强环保验收事中事后的监督管理力度,确保验收内容不缺项,验收标准不降低,验收结果全公开。为规范建设单位自主开展项目竣工环境保护验收的程序和标准,结合乌鲁木齐市环境管理实际,现就有关事项通知如下:

一、建设单位是建设项目竣工环境保护验收的责任主体,应当按照本通知规定的程序和标准,组织对配套建设的环境保护设施进行验收,编制验收报告,公开相关信息,接受社会监督,确保建设项目需要配套建设的环境保护设施与主体工程同时投产或者使用,并对验收内容、结论和所公开信息的真实性、准确性和完整性负责,不得在验收过程中弄虚作假。

    验收报告分为验收监测(调查)报告、验收意见和其他需要说明的事项等三项内容。

、建设项目竣工后,建设单位不具备编制验收监测(调查)报告能力的,可以参考乌鲁木齐市建设项目竣工环境保护验收监测推荐单位委托具有项目竣工环境保护验收资质的技术机构,按照国家有关法律法规、建设项目竣工环境保护验收技术规范、建设项目环境影响报告书(表)和审批决定等要求,如实查验、监测、记载整体项目的建设及配套污染防治设施的调试运行情况,同时还应如实记载其他环境保护对策措施三同时落实情况以及正常投运后对周边环境影响的情况汇总编制竣工环境保护验收监测(调查)报告书(表)建设单位对验收内容、受委托的技术机构编制的验收监测(调查)报告结论和所公开信息的真实性、准确性和完整性负责,不得弄虚作假,擅自变更验收结论建设单位与受委托的技术机构之间的权利义务关系,以及受委托的技术机构应当承担的责任,可以通过合同形式约定。

环境保护设施是指防治环境污染和生态破坏所需的装置、设备、监测手段和工程设施等。

三、需要对建设项目配套建设的环境保护设施进行调试的,建设单位应当确保调试期间污染物排放符合国家和我市的有关污染物排放标准和排污许可等相关管理规定。

环境保护设施未与主体工程同时建成的,或者应当取得排污许可证但未取得的,建设单位不得对该建设项目环境保护设施进行调试。

调试期间,建设单位应当对环境保护设施运行情况和建设项目对环境的影响进行验收监测。验收监测应当在主体工程调试工况达到设计生产规模的75%以上且稳定运行,环境保护设施运行正常的条件下方可进行。具备项目竣工环保验收资质的建设单位开展验收监测活动,可根据自身条件和能力,利用自有人员、场所和设备自行监测。

    四、验收监测(调查)报告编制完成后,建设单位应当根据验收监测(调查)报告结论,逐一检查是否存在本通知第五条所列验收不合格的情形,存在问题的,建设单位应当进行整改。整改完成后或核查报告无不合格情形的建设单位可组织成立验收工作组,根据验收监测结论、整改结果等提出验收意见。

验收工作组可采取现场检查、资料查阅、召开验收会议等方式,协助开展验收工作。验收工作组可以由设计单位、施工单位、环境影响报告书(表)编制机构、验收监测(调查)报告编制机构等单位代表以及专业技术专家等组成,代表范围和人数由建设单位自定。验收工作组现场检查应按环保部《关于印发建设项目竣工环境保护验收现场检查及审查要点的通知》(环办〔2015113号)的相关要求执行。验收工作组应当严格依照国家有关法律法规、建设项目竣工环境保护验收技术规范、建设项目环境影响报告书(表)和审批决定等要求对建设项目配套建设的环境保护设施进行验收,形成验收意见。

验收意见的内容应包括工程建设基本情况、工程变动情况、环境保护设施落实情况、环境保护设施调试效果、工程建设对环境的影响、验收结论和后续要求等内容,验收结论应当明确该建设项目环境保护设施是否验收合格。

、存在下列情形之一的建设项目,建设单位不得提出合格的竣工环保验收意见

    (一)未按环境影响报告书(表)及其审批部门审批决定要求建成环境保护设施,或者环境保护设施不能与主体工程同时投产或者使用的;

    (二)污染物排放不符合国家和地方相关标准、环境影响报告书(表)及其审批部门审批决定或者重点污染物排放总量控制指标要求的;

    (三)环境影响报告书(表)经批准后,该建设项目的性质、规模、地点、采用的生产工艺或者防治污染、防止生态破坏的措施发生重大变动,建设单位未重新报批环境影响报告书(表)或者环境影响报告书(表)未经批准的;

    (四)建设过程中造成重大环境污染未治理完成,或者造成重大生态破坏未恢复的;

    (五)纳入排污许可管理的建设项目,无证排污或者不按证排污的;

    (六)分期建设、分期投入生产或者使用依法应当分期验收的建设项目,其分期建设、分期投入生产或者使用的环境保护设施防治环境污染和生态破坏的能力不能满足其相应主体工程需要的;

    (七)建设单位因该建设项目违反国家和地方环境保护法律法规受到处罚,被责令改正,尚未改正完成的;

(八)验收报告的基础资料数据明显不实,内容存在重大缺项、遗漏,或者验收结论不明确、不合理的;

(九)验收(调查)报告不符合建设项目竣工环境保护验收技术规范的;

其他环境保护法律法规规章等规定不得通过环境保护验收的;

六、建设单位在其他需要说明的事项中应当如实记载环境保护设施设计、施工和验收过程简况、环境影响报告书(表)及其审批部门审批决定中提出的除环境保护设施外的其他环境保护对策措施的实施情况,以及整改工作情况等。

相关地方政府或者政府部门承诺负责实施与项目建设配套的防护距离内居民搬迁、功能置换、栖息地保护等环境保护对策措施的,建设单位应当积极配合地方政府或部门在所承诺的时限内完成,并在其他需要说明的事项中如实记载前述环境保护对策措施的实施情况 

七、建设项目竣工环境保护验收应当在建设项目竣工后6个月内完成。建设项目环境保护设施需要调试的,验收可适当延期,但总期限最长不得超过9个月。除需要取得排污许可证的水和大气污染防治设施外,其他环境保护设施的验收期限一般不超过3个月;需要对该类环境保护设施进行调试或者整改的,验收期限可以适当延期,但最长不超过12个月。

    验收期限是指自建设项目环境保护设施竣工之日起至建设单位向社会公开验收报告之日止的时间。

  除按照国家需要保密的情形外,建设单位应当通过其网站或其他便于公众知晓的方式,向社会公开下列信息:

    (一)建设项目配套建设的环境保护设施竣工后,公开竣工日期;

    (二)对建设项目配套建设的环境保护设施进行调试前,公开调试的起止日期;

    (三)验收报告编制完成后5个工作日内,公开验收报告,公示的期限不得少于20个工作日。

建设单位公开上述信息的同时,应当向所在环境保护主管部门报送相关信息,并接受监督检查,备案材料包验收验收监测(调查)报告、验收意见、其他需要说明的事项和向社会公开信息证明材料等内容。

国家环境保护部后期将《建设项目竣工环境保护验收技术指南污染影响类》另行发布。全国建设项目竣工环境保护验收信息平台将于2017121日上线试运行,网址为http//47.94.79.251。此外,还可以登陆国家环境保护部网站查询建设项目竣工环境保护验收相关技术规范(网址:kjs.mpe.gov.cn/hjbhbz/bzwb/other

    九、分期建设、分期投入生产或者使用的建设项目,其环境影响报告书(表)应当列明分期的建设内容,明确相应配套的环境保护设施,据此开展分期验收,不得任意拆分项目。

十、辐射类建设项目统一按照上述要求,由建设单位自主开展建设项目竣工环境保护验收。

十一、污染源在线监测设施验收统一按照上述要求,由建设单位自主开展建设项目竣工环境保护验收,对于新建项目,验收监测调查时须涵盖污染源在线监测设施比对监测情况,并按照三同时管理要求与主体项目共同验收,对于主体项目已完成验收,新增或更换(包含:采样口变更、分析元件更换)污染源在线监测设施的项目,按照建设单位自主验收工作的要求进行。

十二、对于已完成建设项目验收监测报告,但尚未向环境保护部门申请建设项目竣工环境保护验收的建设项目,由建设单位按照上述要求自主完成大气污染防治设施的验收工作,涉及配套建设的水、噪声或者固体废物污染防治设施的由环保部门进行建设项目竣工环境保护验收。

十三、对于已完成建设项目竣工环境保护验收工作的,但在经营过程中发生变更法人、企业名称更改等变化的建设项目,由建设单位委托乌鲁木齐市竣工环境保护验收监测推荐单位的技术机构,按照建设单位自主开展建设项目竣工环境保护验收工作的要求,调查核实后形成调查报告确认后,方可予以结论性变更。

十四、各区(县)环保局按照审批权限,做好建设项目竣工环境保护验收的承接工作,积极做好解释、指导等服务工作,避免出现工作断档、停滞、缺漏,确保建设单位自主开展建设项目竣工环境保护验收工作的平稳过渡。

充分依托建设项目竣工环境保护验收信息平台,采取随机抽取检查对象和随机选派执法检查人员的方式,结合违规项目定点检查,对建设项目环境保护设施三同时落实情况、竣工环境保护验收等情况,每月按照已验收项目的10%进行监督性检查,及时向社会公开公示结果,将建设项目有关环境违法信息记入诚信档案。

十五、市环境保护局将组成检查组,定期对乌鲁木齐市企业自主开展的建设项目竣工环境保护验收工作进行抽查,对需要配套建设的环境保护设施未建成、未经验收或者经验收不合格,建设项目已投入生产或者使用的,在环境保护设施验收中弄虚作假的,或者建设单位未依法向社会公开环境保护设施验收报告的,依照《建设项目环境保护管理条例》等规定予以处罚。对在验收监测、编制验收意见工作中弄虚作假,或未按照相关法律规定执行验收的单位,将依法处理,并向社会公开处理结果,违法信息记入企业诚信档案

十六、建设项目需要配套建设水、噪声或者固体废物污染防治设施的,新修改的《中华人民共和国水污染防治法》生效实施前或者《中华人民共和国固体废物污染环境防治法》《中华人民共和国环境噪声污染防治法》修改完成前,应依法由环境保护部门对建设项目水、噪声或者固体废物污染防治设施进行验收,配套建设的大气污染防治设施由建设单位按照本办法开展验收工作。

附件:

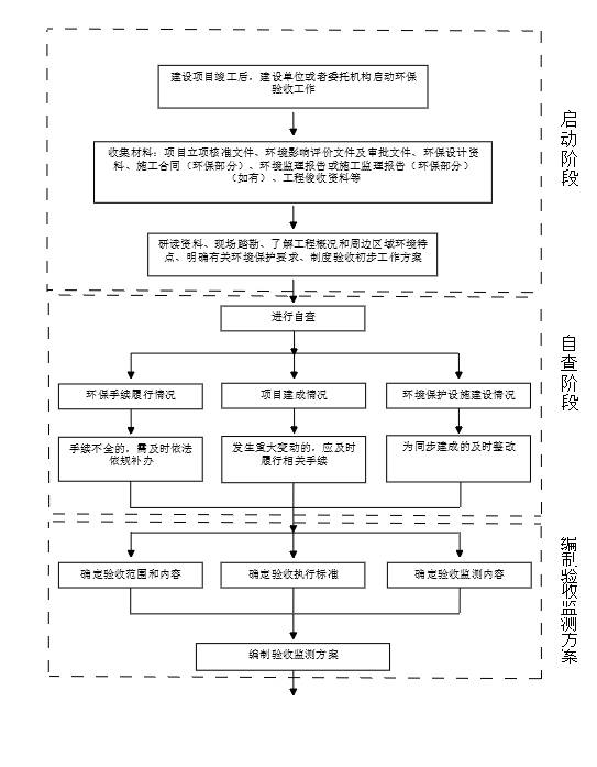
附件:乌鲁木齐市建设项目竣工环境保护验收流程示意图


声明:   本号对转载、分享、陈述、观点、图频保持中立,目的仅在于传递更多信息,版权归原作者。如不妥,请联系删除。

             长按图片·识别二维码关注》企事业环保